Intenfa Logo

Technical Informations

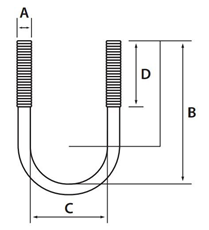
4.8 Grade U Type Anchor Bolts



4.8 Grade U Type Anchor Bolts


A:

B:

C:

D:

4.8 Grade U Type Anchor Bolts

Intenfa Loading
Our customer support team is here to answer your questions. Ask us anything!
How can we help?
Intenfa.com Whatsapp Chat Online
Whatsapp Chat
Our customer support team is here to answer your questions. Ask us anything!
How can we help?
Intenfa.com Whatsapp Chat Online
Whatsapp Chat