Intenfa Logo

Technical Informations

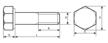
5.6 Grade DIN 7990 Hexagon Head Bolts For Steel Structures Zinc Plated



5.6 Grade DIN 7990 Hexagon Head Bolts For Steel Structures Zinc Plated

Size – D

Pitch (p)

E (Min.)

S (Min.)

S (Max.)

B

K (Min.)

K (Max.)

M12

1.75

20.88

18.48

19

17.75

7.55

8.45

M16

2

26.17

23.16

24

21

9.25

10.75

M20

2.5

32.95

29.16

30

23.5

12.1

13.9

M22

2.5

35.03

31

32

25.5

13.1

14.9

M24

3

39.55

35

36

26

14.1

18.9

M27

3

45.2

40

41

29

16.1

17.9

M30

3.5

50.85

45

46

30.5

17.95

20.05

5.6 Grade DIN 7990 Hexagon Head Bolts For Steel Structures Zinc Plated

Intenfa Loading
Our customer support team is here to answer your questions. Ask us anything!
How can we help?
Intenfa.com Whatsapp Chat Online
Whatsapp Chat
Our customer support team is here to answer your questions. Ask us anything!
How can we help?
Intenfa.com Whatsapp Chat Online
Whatsapp Chat