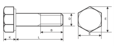
EN 15048 SB ( Structural Bolting ) 8.8 Grade DIN 931 - ISO 4014 Hexagon Head Bolts Half Threaded Geomet
EN 15048 SB ( Structural Bolting ) 8.8 Grade DIN 931 - ISO 4014 Hexagon Head Bolts Half Threaded Geomet

|
Size – D
|
Pitch (p)
|
E (Min.)
|
S (Min.)
|
S (Max.)
|
B
L ≤ 125
|
B
L : 125-200
|
B
L ≥ 200
|
K (Min.)
|
K (Max.)
|
|
M10
|
1.5
|
17.77
|
15.57
|
16
|
26
|
32
|
45
|
6.2
|
7
|
|
M12
|
1.75
|
20.03
|
17.57
|
18
|
30
|
36
|
49
|
7.2
|
8
|
|
M16
|
2
|
26.17
|
23.16
|
24
|
38
|
44
|
57
|
9.71
|
10.29
|
|
M18
|
2.5
|
29.56
|
26.16
|
27
|
42
|
48
|
61
|
11.15
|
11.85
|
|
M20
|
2.5
|
32.95
|
29.16
|
30
|
46
|
52
|
65
|
12.15
|
12.85
|
|
M22
|
2.5
|
37.29
|
33
|
34
|
50
|
56
|
69
|
13.65
|
14.35
|
|
M24
|
3
|
39.55
|
35
|
36
|
54
|
60
|
73
|
14.65
|
15.35
|
|
M27
|
3
|
45.2
|
40
|
41
|
60
|
66
|
79
|
16.65
|
17.35
|
|
M30
|
3.5
|
50.85
|
45
|
46
|
66
|
72
|
85
|
18.18
|
19.12
|
|
M33
|
3.5
|
55.37
|
49
|
50
|
72
|
78
|
91
|
20.58
|
21.42
|
|
M36
|
4
|
60.79
|
53.8
|
55
|
78
|
84
|
97
|
22.08
|
22.92
|
|
M39
|
4
|
66.44
|
58.8
|
60
|
84
|
90
|
103
|
24.58
|
25.42
|
|
M42
|
4.5
|
71.3
|
63.1
|
65
|
90
|
96
|
109
|
25.58
|
26.42
|
|
M45
|
4.5
|
76.95
|
68.1
|
70
|
96
|
102
|
115
|
27.58
|
28.42
|
|
M48
|
5
|
82.6
|
73.1
|
75
|
102
|
108
|
121
|
29.58
|
30.42
|
|
M52
|
5
|
88.25
|
78.1
|
80
|
110
|
116
|
129
|
32.5
|
33.5
|
|
M56
|
5.5
|
93.56
|
82.8
|
85
|
118
|
124
|
137
|
34.5
|
35.5
|
|
M60
|
5.5
|
99.21
|
87.8
|
90
|
-
|
132
|
145
|
37.5
|
38.5
|
|
M64
|
6
|
104.86
|
92.8
|
95
|
-
|
140
|
153
|
39.5
|
40.5
|
EN 15048 SB ( Structural Bolting ) 8.8 Grade DIN 931 - ISO 4014 Hexagon Head Bolts Half Threaded Geomet